
TI가 저전력 RF(radio frequency) 솔루션 포트폴리오에 새로운 RF430F5978 마이크로컨트롤러(MCU)를 추가했다. TI의 CC430 제품군에 기반을 둔 RF430F5978 MCU는 초저전력 애플리케이션에 이용할 수 있게 향상된 인식 영역 및 배터리 성능을 제공하는 고도로 통합된 RF 솔루션이다.
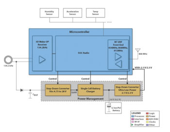
RF430F5978 MCU는 3D 저주파(LF) 웨이크업 및 트랜스폰더 인터페이스, 1 GHz RF 트랜시버, 프로그래머블 MSP430™코어를 포함하며, LF 트랜스폰더는 배터리 공급 없이도 작동할 수 있다. 또한 128bit AES 보안 암호화/복호화 보조 프로세서를 포함해 더 향상된 데이터 보안 기능을 제공한다.
시스템 패키지(SiP, system-in-a-package) 솔루션은 웨이크업 및 위치 인식 RF 커넥티비티를 통합해 소형 배터리를 사용한 매우 작은 크기의 컴팩트한 설계가 가능하다.
이 MCU 제품은 무선 센서 네트워크와 데이터 로거(data logger), 동적 트랜스폰더, 원격 모니터링 시스템, 컨테이너 추적, 접근 통제, 자산 관리 시스템 등의 저전력 RF 애플리케이션에 적합하다. 예를 들어 RF430F5978 MCU를 이용하여 농산물 유통 박스의 데이터 로깅 및 무선 통신 애플리케이션에 적용할 수 있다.
이와 함께 개발자들은 RF430F5978 MCU 시스템을 빠르고 쉽게 평가하기 위해 RF430F5978 EVM을 구매하여 이용할 수 있다. 이 EVM을 사용하면 3D LF 웨이크업 및 트리거 기능, 수동 무배터리 트랜스폰더 작동, 공진 트리밍을 비롯한 RF430F5978 MCU의 주요 기능들을 평가할 수 있다. 또한 USB 플러그인 LF 트리거 모듈, RF430F5978 MCU 평가 보드, AP434R01 액세스 포인트, 3D LF 안테나를 포함한다.
www.ti.com
<저작권자(c)스마트앤컴퍼니. 무단전재-재배포금지>







